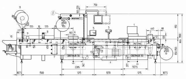
Подержанные машины Multivac R530 производитель:Multivac Тип:R530 Год постройки:2006 назад Прямой контакт Скачать брошюру